Présentation du produit
Réducteur Dinest un type de raccord de tuyauterie à souder bout à bout utilisé pour connecter deux tuyaux de diamètres nominaux différents. Il présente des structures concentriques et excentriques. Le produit peut être utilisé pendant une longue période dans des environnements à haute température, haute pression et corrosifs.



Spécifications
|
Article |
Spécification |
|
Norme d'exécution |
DIN2616 |
|
Type/Modèle |
Concentrique, excentrique |
|
Spécification |
φ21,3 mm-1220 mm |
|
Classe d'épaisseur de paroi |
(3mm-40mm) pour DIN |
|
Type de connexion |
PC |
|
Traitement de surface |
peinture |
DIN2616
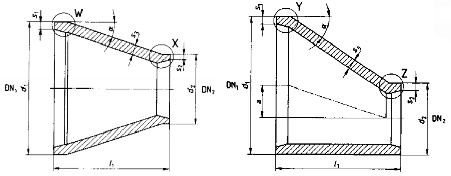
Dimensions des réducteurs

| Diamètre nominal DN1 | Diamètre d1 | Épaisseur de paroi s1 pour la série | maximum | Taille nominale DN2 | Diamètre d2 | Épaisseur de paroi s2 pour la série | l1 | Épaisseur de paroi s3 pour série | ||||||||||||
| 1 | 2 | 3 | 4 | 5 | 1 | 2 | 3 | 4 | 5 | 1 | 2 | 3 | 4 | 5 | ||||||
| 15 | 21,3 | 1,6 | – | 2,0 | 3,2 | 4,0 | 6 | 10 | 17,2 | 1,6 | – | 1,8 | 2,9 | – | 38 | 1,6 | – | 2,0 | 3,2 | – |
| 20 | 26,9 | 1,6 | – | 2,3 | 3,2 | 4,0 | 8 | 15 | 21,3 | 1,6 | – | 2,0 | 3,2 | 4,0 | 38 | 1,6 | – | 2,3 | 3,2 | 4,0 |
| 12 | 10 | 17,2 | 1,6 | – | 1,8 | 2,9 | – | 1,6 | – | 2,3 | 3,2 | – | ||||||||
| 25 | 33,7 | 2,0 | – | 2,6 | 3,2 | 4,0 | 7 | 20 | 26,9 | 1,6 | – | 2,3 | 3,2 | 4,0 | 50 | 2,0 | – | 2,6 | 3,2 | 4,0 |
| 12 | 15 | 21,3 | 1,6 | – | 2,0 | 3,2 | 4,0 | |||||||||||||
| 32 | 42,4 | 2,0 | – | 2,6 | 3,6 | 4,0 | 9 | 25 | 33,7 | 2,0 | – | 2,6 | 3,2 | 4,0 | 50 | 2,0 | – | 2,6 | 3,6 | 4,0 |
| 15 | 20 | 26,9 | 1,6 | – | 2,3 | 3,2 | 4,0 | |||||||||||||
| 19 | 15 | 21,3 | 1,6 | – | 2,0 | 3,2 | 4,0 | |||||||||||||
| 40 | 48,3 | 2,0 | – | 2,6 | 4,0 | 5,0 | 8 | 32 | 42,4 | 2,0 | – | 2,6 | 3,6 | 4,0 | 64 | 2,0 | – | 2,6 | 4,0 | 5,0 |
| 10 | 25 | 33,7 | 2,0 | – | 2,6 | 3,2 | 4,0 | |||||||||||||
| 16 | 20 | 26,9 | 1,6 | – | 2,3 | 3,2 | 4,0 | |||||||||||||
| 50 | 60,3 | 2,0 | – | 2,9 | 4,5 | 5,6 | 7 | 40 | 48,3 | 2,0 | – | 2,6 | 4,0 | 5,0 | 76 | 2,0 | – | 2,9 | 4,5 | 5,6 |
| 11 | 32 | 42,4 | 2,0 | – | 2,6 | 3,6 | 4,0 | |||||||||||||
| 16 | 25 | 33,7 | 2,0 | – | 2,6 | 3,2 | 4,0 | |||||||||||||
| 21 | 20 | 26,9 | 1,6 | – | 2,3 | 3,2 | 4,0 | |||||||||||||
| 65 | 76,1 | 2,3 | – | 2,9 | 5,0 | 7,1 | 9 | 50 | 60,3 | 2,0 | – | 2,9 | 4,5 | 5,6 | 90 | 2,3 | – | 2,9 | 5,0 | 7,1 |
| 15 | 40 | 48,3 | 2,0 | – | 2,6 | 4,0 | 5,0 | |||||||||||||
| 18 | 32 | 42,4 | 2,0 | – | 2,6 | 3,6 | 4,0 | |||||||||||||
| 23 | 25 | 33,7 | 2,0 | – | 2,6 | 3,2 | 4,0 | |||||||||||||
| 80 | 88,9 | 2,3 | – | 3,2 | 5,6 | 8,0 | 7 | 65 | 76,1 | 2,3 | – | 2,9 | 5,0 | 7,1 | 90 | 2,3 | – | 3,2 | 5,6 | 8,0 |
| 16 | 50 | 60,3 | 2,0 | – | 2,9 | 4,5 | 5,6 | |||||||||||||
| 22 | 40 | 48,3 | 2,0 | – | 2,6 | 4,0 | 5,0 | |||||||||||||
| 26 | 32 | 42,4 | 2,0 | – | 2,6 | 3,6 | 4,0 | |||||||||||||
| 100 | 114,3 | 2,6 | – | 3,6 | 6,3 | 8,8 | 13 | 80 | 88,9 | 2,3 | – | 3,2 | 5,6 | 8,0 | 100 | 2,6 | – | 3,6 | 6,3 | 8,8 |
| 18 | 65 | 76,1 | 2,3 | – | 2,9 | 5,0 | 7,1 | |||||||||||||
| 26 | 50 | 80,3 | 2,0 | – | 2,9 | 4,5 | 5,6 | |||||||||||||
| 31 | 40 | 48,3 | 2,0 | – | 2,6 | 4,0 | 5,0 | |||||||||||||
| 125 | 139,7 | 2,6 | – | 4,0 | 6,3 | 10,0 | 10 | 100 | 114,3 | 2,6 | – | 3,6 | 6,3 | 8,8 | 127 | 2,6 | – | 4,0 | 6,3 | 10,0 |
| 20 | 80 | 88,9 | 2,3 | – | 3,2 | 5,6 | 8,0 | |||||||||||||
| 25 | 65 | 76,1 | 2,3 | – | 2,9 | 5,0 | 7,1 | |||||||||||||
| 30 | 50 | 60,3 | 2,0 | – | 2,9 | 4,5 | 5,6 | |||||||||||||
| 150 | 168,3 | 2,6 | 4,0 | 4,5 | 7,1 | 11,0 | 9 | 125 | 139,7 | 2,6 | 4,0 | 4,0 | 6,3 | 10,0 | 140 | 2,6 | 4,0 | 4,5 | 7,1 | 11,0 |
| 19 | 100 | 114,3 | 2,6 | 3,6 | 3,6 | 6,3 | 8,8 | |||||||||||||
| 27 | 80 | 88,9 | 2,3 | 3,2 | 3,2 | 5,6 | 8,0 | |||||||||||||
| 31 | 65 | 76,1 | 2,3 | 2,9 | 2,9 | 5,0 | 7,1 | |||||||||||||
| 200 | 219,1 | 2,9 | 4,5 | 6,3 | 8,0 | 12,5 | 18 | 150 | 168,3 | 2,6 | 4,0 | 4,5 | 7,1 | 11,0 | 152 | 2,9 | 4,5 | 6,3 | 8,0 | 12,5 |
| 27 | 125 | 139,7 | 2,6 | 4,0 | 4,0 | 6,3 | 10,0 | |||||||||||||
| 33 | 100 | 114,3 | 2,6 | 3,6 | 3,6 | 6,3 | 8,8 | |||||||||||||
| 39 | 80 | 88,9 | 2,3 | 3,2 | 3,2 | 5,6 | 8,0 | |||||||||||||
| 250 | 273,0 | 2,9 | 5,0 | 6,3 | 8,8 | 14,2 | 16 | 200 | 219,1 | 2,9 | 4,5 | 6,3 | 8,0 | 12,5 | 178 | 2,9 | 5,0 | 6,3 | 8,8 | 14,2 |
| 30 | 150 | 168,3 | 2,6 | 4,0 | 4,5 | 7,1 | 11,0 | |||||||||||||
| 36 | 125 | 139,7 | 2,6 | 4,0 | 4,0 | 6,3 | 10,0 | 3,0 | 5,0 | 6,3 | 8,8 | 14,2 | ||||||||
| 40 | 100 | 114,3 | 2,6 | 3,6 | 3,6 | 6,3 | 8,8 | 3,1 | 5,0 | 6,3 | 8,8 | 14,2 | ||||||||
| 300 | 323,9 | 2,9 | 5,6 | 7,1 | 10,0 | 16,0 | 12 | 250 | 273,0 | 2,9 | 5,0 | 6,3 | 8,8 | 14,2 | 203 | 2,9 | 5,6 | 7,1 | 10,0 | 16,0 |
| 24 | 200 | 219,1 | 2,9 | 4,5 | 6,3 | 8,0 | 12,5 | |||||||||||||
| 35 | 150 | 168,3 | 2,6 | 4,0 | 4,5 | 7,1 | 11,0 | 3,0 | 5,6 | 7,1 | 10,0 | 16,0 | ||||||||
| 40 | 125 | 139,7 | 2,6 | 4,0 | 4,0 | 6,3 | 10,0 | 3,1 | 5,6 | 7,1 | 10,0 | 16,0 | ||||||||
| 350 | 355,6 | 3,2 | 5,6 | 8,0 | 11,0 | 17,5 | 6 | 300 | 323,9 | 2,9 | 5,6 | 7,1 | 10,0 | 16,0 | 330 | 3,2 | 5,6 | 8,0 | 11,0 | 17,5 |
| 14 | 250 | 273,0 | 2,9 | 5,0 | 6,3 | 8,8 | 14,2 | |||||||||||||
| 22 | 200 | 219,1 | 2,9 | 4,5 | 6,3 | 8,0 | 12,5 | |||||||||||||
| 29 | 150 | 168,3 | 2,6 | 4,0 | 4,5 | 7,1 | 11,0 | |||||||||||||
| 400 | 406,4 | 3,2 | 6,3 | 8,8 | 12,5 | 20,0 | 8 | 350 | 355,6 | 3,2 | 5,6 | 8,0 | 11,0 | 17,5 | 355 | 3,2 | 6,3 | 8,8 | 12,5 | 20,0 |
| 13 | 300 | 323,9 | 2,9 | 5,6 | 7,1 | 10,0 | 16,0 | |||||||||||||
| 21 | 250 | 273,0 | 2,9 | 5,0 | 6,3 | 8,8 | 14,2 | |||||||||||||
| 28 | 200 | 219,1 | 2,9 | 4,5 | 6,3 | 8,0 | 12,5 | |||||||||||||
| 34 | 150 | 168,3 | 2,6 | 4,0 | 4,5 | 7,1 | 11,0 | |||||||||||||
| 450 | 457,0 | 4,0 | 6,3 | 10,0 | 14,2 | 22,2 | 7 | 400 | 406,4 | 3,2 | 6,3 | 8,8 | 12,5 | 20,0 | 381 | 4,0 | 6,3 | 10,0 | 14,2 | 22,2 |
| 14 | 350 | 355,6 | 3,2 | 5,6 | 8,0 | 11,0 | 17,5 | |||||||||||||
| 18 | 300 | 323,9 | 2,9 | 5,6 | 7,1 | 10,0 | 16,0 | |||||||||||||
| 25 | 250 | 273,0 | 2,9 | 5,0 | 6,3 | 8,8 | 14,2 | |||||||||||||
| 31 | 200 | 219,1 | 2,9 | 4,5 | 6,3 | 8,0 | 12,5 | |||||||||||||
| 500 | 508,0 | 4,0 | 6,3 | 11,0 | 16,0 | 25,0 | 4 | 450 | 457,0 | 4,0 | 6,3 | 10,0 | 14,2 | 22,2 | 508 | 4,0 | 6,3 | 11,0 | 16,0 | 25,0 |
| 10 | 400 | 406,4 | 3,2 | 6,3 | 8,8 | 12,5 | 20,0 | |||||||||||||
| 17 | 350 | 355,6 | 3,2 | 5,6 | 8,0 | 11,0 | 17,5 | |||||||||||||
| 20 | 300 | 323,9 | 2,9 | 5,6 | 7,1 | 10,0 | 16,0 | |||||||||||||
| 24 | 250 | 273,0 | 2,9 | 5,0 | 6,3 | 8,8 | 14,2 | |||||||||||||
| 29 | 200 | 219,1 | 2,9 | 4,5 | 6,3 | 8,0 | 12,5 | |||||||||||||
| 600 | 610,0 | 5,0 | 6,3 | 12,5 | 17,5 | 30,0 | 10 | 500 | 508,0 | 4,0 | 6,3 | 11,0 | 16,0 | 25,0 | 508 | 5,0 | 6,3 | 12,5 | 17,5 | 30 |
| 15 | 450 | 457,0 | 4,0 | 6,3 | 10,0 | 14,2 | 22,2 | |||||||||||||
| 21 | 400 | 406,4 | 3,2 | 6,3 | 8,8 | 12,5 | 20,0 | |||||||||||||
| 26 | 350 | 355,6 | 3,2 | 5,6 | 8,0 | 11,0 | 17,5 | |||||||||||||
| 29 | 300 | 323,9 | 2,9 | 5,6 | 7,1 | 10,0 | 16,0 | |||||||||||||
| 33 | 250 | 273,0 | 2,9 | 5,0 | 6,3 | 8,8 | 14,2 | 5,1 | 6,3 | 12,5 | 17,5 | 30 | ||||||||
| 700 | 711,0 | 5,0 | 7,1 | 12,5 | 20,0 | 32,0 | 10 | 600 | 610,0 | 5,0 | 6,3 | 12,5 | 17,5 | 30,0 | 610 | 5,0 | 7,1 | 12,5 | 20,0 | 32 |
| 15 | 500 | 508,0 | 4,0 | 6,3 | 11,0 | 16,0 | 25,0 | |||||||||||||
| 20 | 450 | 457,0 | 4,0 | 6,3 | 10,0 | 14,2 | 22,2 | |||||||||||||
| 25 | 400 | 406,4 | 3,2 | 6,3 | 8,8 | 12,5 | 20,0 | |||||||||||||
| 30 | 350 | 355,6 | 3,2 | 5,6 | 8,0 | 11,0 | 17,5 | |||||||||||||
| 33 | 300 | 323,9 | 2,9 | 5,6 | 7,1 | 10,0 | 16,0 | |||||||||||||
| 800 | 813,0 | 5,6 | 8,0 | 12,5 | 22,2 | 36,0 | 10 | 700 | 711,0 | 5,0 | 7,1 | 12,5 | 20,0 | 32,0 | 610 | 5,6 | 8,0 | 12,5 | 22,2 | 36 |
| 15 | 600 | 610,0 | 5,0 | 6,3 | 12,5 | 17,5 | 30,0 | |||||||||||||
| 20 | 500 | 508,0 | 4,0 | 6,3 | 11,0 | 16,0 | 25,0 | |||||||||||||
| 25 | 450 | 457,0 | 4,0 | 6,3 | 10,0 | 14,2 | 22,2 | |||||||||||||
| 30 | 400 | 406,4 | 3,2 | 6,3 | 8,8 | 12,5 | 20,0 | |||||||||||||
| 35 | 350 | 355,6 | 3,2 | 5,6 | 8,0 | 11,0 | 17,5 | 5,8 | 8,0 | 12,5 | 22,2 | 36 | ||||||||
| 900 | 914,0 | 6,3 | 10,0 | 12,5 | 25,0 | 40,0 | 10 | 800 | 813,0 | 5,6 | 8,0 | 12,5 | 22,2 | 36,0 | 610 | 6,3 | 10,0 | 12,5 | 25,0 | 40 |
| 15 | 700 | 711,0 | 5,0 | 7,1 | 12,5 | 20,0 | 32,0 | |||||||||||||
| 20 | 600 | 610,0 | 5,0 | 6,3 | 12,5 | 17,5 | 30,0 | |||||||||||||
| 25 | 500 | 508,0 | 4,0 | 6,3 | 11,0 | 16,0 | 25,0 | |||||||||||||
| 30 | 450 | 457,0 | 4,0 | 6,3 | 10,0 | 14,2 | 22,2 | 6,4 | 10,0 | 12,5 | 25,0 | 40 | ||||||||
| 35 | 400 | 406,4 | 3,2 | 6,3 | 8,8 | 12,5 | 20,0 | 6,5 | 10,0 | 12,5 | 25,0 | 40 | ||||||||
| 1000 | 1016,0 | 6,3 | 10,0 | 12,5 | 28,0 | 45,0 | 10 | 900 | 914,0 | 6,3 | 10,0 | 12,5 | 25,0 | 40,0 | 810 | 6,3 | 10,0 | 12,5 | 28,0 | 45 |
| 15 | 800 | 813,0 | 5,6 | 8,0 | 12,5 | 22,2 | 36,0 | |||||||||||||
| 20 | 700 | 711,0 | 5,0 | 7,1 | 12,5 | 20,0 | 32,0 | |||||||||||||
| 25 | 600 | 610,0 | 5,0 | 6,3 | 12,5 | 17,5 | 30,0 | |||||||||||||
| 30 | 500 | 508,0 | 4,0 | 6,3 | 11,0 | 16,0 | 25,0 | |||||||||||||
| 35 | 450 | 457,0 | 4,0 | 6,3 | 10,0 | 14,2 | 22,2 | 6,4 | 10,2 | 12,5 | 28,0 | 45 | ||||||||
| 1200 | 1220,0 | 6,3 | 12,5 | − | − | − | 10 | 1000 | 1018,0 | 6,3 | 10,0 | − | − | − | 711 | 6,3 | 1,25 | − | − | − |
| 15 | 900 | 914,0 | 6,3 | 10,0 | − | − | − | |||||||||||||
| 20 | 800 | 813,0 | 5,6 | 8,0 | − | − | − | |||||||||||||
| 25 | 700 | 711,0 | 5,0 | 7,1 | − | − | − | 6,4 | 12,5 | |||||||||||
| 30 | 600 | 610,0 | 5,0 | 6,3 | − | − | − | 6,6 | 12,5 | |||||||||||
Applications
Industrie pétrochimique
Réducteur Dinest utilisé pour connecter des canalisations de procédé de différents diamètres, telles que des entrées et sorties de réacteurs, des canalisations d'échangeurs de chaleur, etc., et peut s'adapter aux milieux corrosifs et aux conditions de travail à haute-pression.
Industrie de l’énergie électrique
Réducteur Dinsert de raccord réducteur dans les chaudières, les turbines à vapeur et les systèmes de canalisations de vapeur. Son matériau en acier allié peut résister à des températures et à des pressions élevées.
Machines générales
Il est utilisé dans la tuyauterie d'équipements tels que les compresseurs, les réservoirs de stockage et les vannes pour réaliser la transition de différentes tailles d'interface.
FAQ
étiquette à chaud: réducteur din, fabricants de réducteurs din Chine, fournisseurs, usine
